免费、绿色、专业的手机游戏中心下载安装平台-佳佳手游网
微软AI编程工具Copilot获升级:电脑自动写代码有望成真?近日,OpenAI推出的ChatGPT刷新了不少人对人工智能的认知,惊觉“未来已来”。而事实上,OpenAI让人惊叹的产品并不止ChatGPT一个,早在2021年就推出,并在2022年正式商用,让人感觉电脑自动写代码有望成真的AI编程工具Copilot就是其中之一。现在,微软与OpenAI开始更新Copilot,让它能够生成更高质量的
时间:2023-02-17+ 阅读全文
没合资伙伴就自己玩!Jeep、DS、阿尔法罗密欧官宣在中国直营卖车?2月16日消息,中国进口汽车贸易有限公司(简称“中进汽贸”)与Stellantis中国今日在北京签署了一份框架性协议,旨在进一步提升双方的战略合作伙伴关系。Stellantis中国表示,今日双方协议的签订为Stellantis中国系统地推进Jeep、阿尔法罗密欧和DS汽车品牌在华开展直营模式迈出了重要的一步。
时间:2023-02-17+ 阅读全文
西部数据推出22TB 44TB My Book桌面硬盘 售价高达1500美元?2月16日消息,西部数据推出了22TB与44TB My Book桌面硬盘,其中具有44TB存储空间的My Book Duo是该公司有史以来容量最大的消费级桌面外置硬盘。据了解,My Book适合于备份照片和视频及文件,以及其他便携式存储设备。而My Book Duo是一款更先进的硬盘,可用于全面的系统备份,经过了RAID
时间:2023-02-17+ 阅读全文
不到半价:蜜雪冰城雪王桌面保温杯34元到手(316不锈钢)?天猫蜜雪冰城旗舰店,蜜雪冰城雪王桌面保温杯 450ml官方上市定价78元,今日立打5折仅需39元,叠加5元限时加码券,实付34元。450ml容量,316 不锈钢内胆,便携挂绳,直饮口设计。20℃±5℃室温环境下,装满95℃±1℃水,6小时不开盖实测,35℃以上。杯子材质:内胆316不锈钢,外壳 201
时间:2023-02-17+ 阅读全文
曝光交个朋友欠薪 当事人最新回应:罗永浩正积极联系公司解决?今天上午,关于罗永浩交个朋友公司欠薪的话题引发网友热议。据该员工介绍,他于2021年6月入职罗永浩的交个朋友,在2023年2月1日向人社局提交了一条14薪欠薪未发的投诉后,2023年2月2日被公司以莫须有的“违法”理由非法裁员。此事迅速在网络上发酵,当事人也分布了最新回应称:罗老师正积极联系
时间:2023-02-17+ 阅读全文
程序员省心了 华为推出智能化编程助手Snap:大大提升代码效率、质量?编程开发是个费时费力的工作,AI技术在这方面大有可为,最近大火的ChaGPT被指编程比程序员还要稳,现在华为联合CSDN也推出了相应的技术。据报道,在2023年全球人工智能开发者先锋大会媒体通气会上,中国开发者社区CSDN高级副总裁李炯明透露,华为云与CSDN将联合发布“智能化编程助手Snap
时间:2023-02-17+ 阅读全文
凡尔赛堂兄弟 东风标致408X下线:合资同级最帅跨界车!?2月16日消息,全新东风标致408X在神龙公司成都工厂正式量产下线,目前该车已开启预订,将于上海车展上市。图自易车该车对应海外新一代标致408,原汁原味引进了国内,可以说408X就是雪铁龙C5 X凡尔赛的兄弟车型,但不同于雪铁龙凡尔赛C5 X的柔美,标致408X整体更显硬朗,风格独特。该车设计感十足,
时间:2023-02-17+ 阅读全文
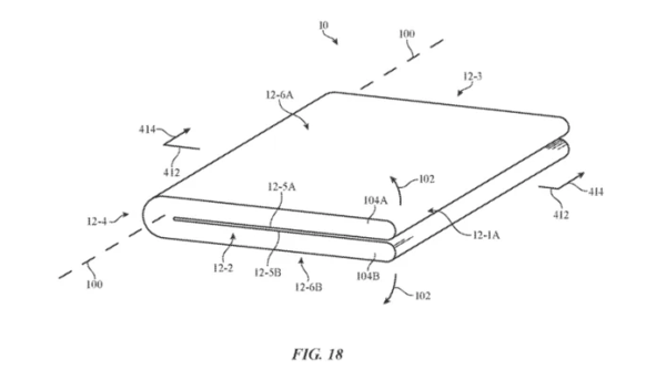
果粉买不?苹果折叠屏会先拿iPad试水!折叠iPhone风险太高了?根据美国专利及商标局(USPTO)网站显示,苹果展示了一项可以对折的设备专利。专利图信息显示,这款设备的屏幕几乎环绕整个机身,配备多个触摸传感器,允许用户除了屏幕还可以触摸设备的多个部分,甚至是触摸设备边缘的部位以实现对应的功能。例如,用户可以触摸设备的侧面来控制摄像头,苹果将其描
时间:2023-02-17+ 阅读全文
英国影评人被《流浪地球2》感动:自我牺牲精神西方很少见?近日,一位英国影评人在看完《流浪地球2》后感慨,电影中“50岁以上出列”的这种牺牲精神西方很少见。他本人表示:“《流浪地球2》中有两套中国价值观非常有意思,电影想将其融入世界。其中一个价值观是家庭血缘纽带关系的重要性,比如影片中深厚的父子情、父女情。血缘家庭的观念,在中国文化中是如
时间:2023-02-17+ 阅读全文
想要过目不忘?进来学两招、保证不后悔!?看过武侠剧的朋友肯定对里面的一些角色印象深刻,特别是拥有“过目不忘”本领的奇人异士,比如金庸笔下的“小龙女”、“王语嫣”、“黄蓉”、“桃花岛主黄老邪的妻子冯蘅”等。每次需要背书考试的时候,总幻想着有她们的本领,这样就能一目十行,并烂熟于心了,那么过目不忘在现实生活中真的存在吗?
时间:2023-02-17+ 阅读全文
热门文章
更多推荐游戏
更多
						
						角色扮演|382.02MB
						
						动作冒险|1.9GB
						
						经营策略|128.08M
						
						动作冒险|128.08M
						
						经营策略|395.58MB
						
						休闲益智|395.58MB
						
						经营策略|1946.34M
						
						枪战射击|1946.34M
						
						经营策略|395.58MB